Apple ma nowy patent. To... papierowa torba
W ciągu tygodnia do amerykańskiego biura patentowego wpłynęło prawie 7 tysięcy nowych projektów. Nie próżnuje też Apple. Pod numerem patentowym nr 20160264304 kryje się bardzo ekologiczne rozwiązanie.
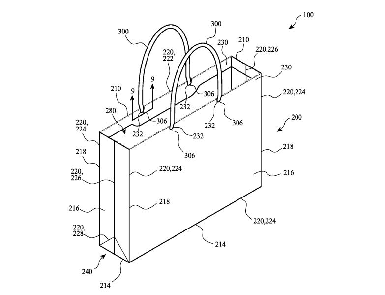
*Papierowa torba, zaprojektowana przez Apple, nie będzie naszpikowana elektroniką. *Koncernowi chodzi raczej o pójście w kierunku ekologii. Firma chce zastępić papierem popularne torby foliowe, które klienci dostają po zakupie iPhone'a lub MacBooka.
*Według projektu torba jest w 60% biodegradowalna. *Stworzona jest ze specjalnego papieru, nazywanego SBS, który jest bardzo odporny na rozrywanie. W środku torby znajduje się rozszerzająca się na zagięciach wkładka, która dodatkowo wzmacnia całość.
Nowatorska ma być także rączka. Apple twierdzi, że w przeciwieństwie do innych papierowych rozwiązań, ich wykonana będzie z przyjemnych w dotyku włókien, przypominających trochę sznurówki.
Autor: Tomasz Wiślicki
Widziałeś lub słyszałeś coś ciekawego? Poinformuj nas, nakręć film, zrób zdjęcie i wyślij na redakcjao2@grupawp.pl.
