Naładujesz telefon bezprzewodowo za pomocą… routera Wi-Fi

Amerykański urząd patentowy opublikował schemat koncepcyjny przedstawiający bezprzewodowe ładowanie z pomocą routera Wi-Fi. Zgłosiła go firma Apple.

Obraz
Źródło zdjęć: © Domena publiczna

Działanie wygląda na proste. Wystarczy znaleźć się w zasięgu routera, żeby nasz telefon czy tablet zaczęły się ładować. Ładowanie nie zablokuje działania sieci WiFi.

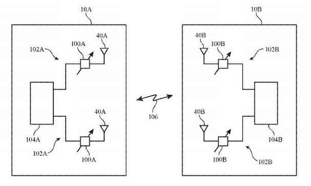
Obraz
© Amerykański Urząd Patentowy

O ile idea wydaje się prosta, stojąca za nią technika wcale taka nie jest. Schemat dołączony do wniosku patentowego przedstawia dwa elementy – nadajnik i odbiornik. Każdy ma swoją antentę. Ich zadaniem jest wysyłanie oraz odbieranie sygnałów radiowych i zamiana ich w energię elektryczną.

Projekt zakłada montaż anten o podwójnej polaryzacji i podwójnej częstotliwości. Zasięg bezprzewodowego ładowania zwiększyłby się w stosunku do oferowanych obecnie urządzeń. Zdaniem Tylera Lee z serwisu Ubergizmo, możliwe stanie się poruszanie po mieszkaniu ze stale ładującym się telefonem.

Bezprzewodowe ładowanie przy pomocy sygnałów WiFi opisano już 2015 roku. Naukowcy z Uniwersytetu w Waszyngtonie z odległości 8,5 m naładowali akumulatory z pomocą zwykłego routera ze zmienionym oprogramowaniem. Od fazy testów w do ostatecznego produktu daleka droga. Jeżeli Apple zdecyduje się montować je w swoich komórkach, droga ta znacznie się skróci.

Widziałeś lub słyszałeś coś ciekawego? Poinformuj nas, nakręć film, zrób zdjęcie i wyślij na redakcjao2@grupawp.pl.

Wybrane dla Ciebie
Złe wieści dla Orbana. Jest przekonany. "TISZA wygra"
Złe wieści dla Orbana. Jest przekonany. "TISZA wygra"
Strażak zmarł na warcie. Ruszyła zbiórka dla rodziny
Strażak zmarł na warcie. Ruszyła zbiórka dla rodziny
Tyle zapłacimy za krajowe truskawki. "Powiem, co dzieje się na moim polu"
Tyle zapłacimy za krajowe truskawki. "Powiem, co dzieje się na moim polu"
Media: Najwyższy przywódca Iranu ma oszpeconą twarz
Media: Najwyższy przywódca Iranu ma oszpeconą twarz
Skóra jak magazyn energii? Laser zmienia kurtki w źródło zasilania
Skóra jak magazyn energii? Laser zmienia kurtki w źródło zasilania
Tajemnicze zaginięcie. Sąsiedzi zabrali głos
Tajemnicze zaginięcie. Sąsiedzi zabrali głos
Nowy priorytet Rosji. Biorą do wojska dłużników
Nowy priorytet Rosji. Biorą do wojska dłużników
Wyniki Lotto 10.04.2026 – losowania Euro Jackpot, Multi Multi, Ekstra Pensja, Ekstra Premia, Mini Lotto, Kaskada
Wyniki Lotto 10.04.2026 – losowania Euro Jackpot, Multi Multi, Ekstra Pensja, Ekstra Premia, Mini Lotto, Kaskada
Jest bratem Jacka Magiery. Wykonuje pracę, którą cenią kibice
Jest bratem Jacka Magiery. Wykonuje pracę, którą cenią kibice
Wybory na Węgrzech. Orban mobilizuje wyborców. "Przyprowadźcie wszystkich"
Wybory na Węgrzech. Orban mobilizuje wyborców. "Przyprowadźcie wszystkich"
Leśnicy zaniemówili. Leżała zakopana w liściach. "Niezwykle rzadki okaz"
Leśnicy zaniemówili. Leżała zakopana w liściach. "Niezwykle rzadki okaz"
Oddali swoje ciała nauce. Znany profesor wśród donatorów. Wyjątkowe kadry
Oddali swoje ciała nauce. Znany profesor wśród donatorów. Wyjątkowe kadry