Drony wylądują nawet na kościołach

Największy na świecie sklep internetowy Amazon od dawna mówił o wprowadzeniu usługi "Prime Air", gdzie towary miałyby dostarczać drony. Jeśli wszystko się powiedzie, będą lądować na sygnalizacji świetlnej, przekaźnikach telekomunikacyjnych, a nawet kościelnych wieżach.

Obraz
Źródło zdjęć: © flickr.com | Peter Linehan

Stacje dokujące znacznie zwiększyłyby zasięg dronów. Gęste rozmieszczenie tych obiektów umożliwiałoby bezzałogowcom m. in. doładowywanie baterii. Taki system mógłby objąć siecią całe kraje, a nawet kontynenty - pojedynczy dron "przeskakiwałby" od stacji do stacji, lądując w końcu u celu, czyli u adresata przesyłki.

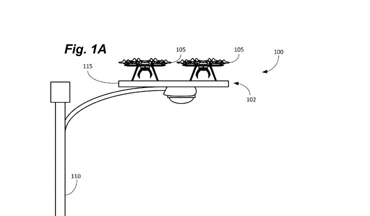
Obraz
© uspto.gov

Ładowanie to nie jedyna funkcja stacji. Mogłyby także służyć dronom za schronienie przy niesprzyjających warunkach pogodowych. Tak przynajmniej opisuje działanie wniosek "Wielofunkcyjne stacje dokujące dla bezzałogowych statków powietrznych - systemy i metody", który zaakceptował amerykański urząd patentowy.

Założyciel Amazon Jeff Bezos mówił projekcie już w 2013 r. Wspominał wówczas o wykorzystaniu paneli słonecznych i umieszczeniu w stacjach dokujących kamer oraz punktów sieci bezprzewodowej "bez konieczności instalacji całej skomplikowanej infrastruktury".

Autor: Tomasz Wiślicki

Teraz serce internetu w jednej aplikacji. Bądź na bieżąco i pobierz w Google Play albo App Store.

Wybrane dla Ciebie
Walczył z Rosjanami. Hoang Tran skazany
Walczył z Rosjanami. Hoang Tran skazany
Przyłapani w Rossmannie. Ich twarze zobaczą wszyscy. Komunikat policji
Przyłapani w Rossmannie. Ich twarze zobaczą wszyscy. Komunikat policji
"Zimno, boli". Ukrainka wypadła z drugiego piętra
"Zimno, boli". Ukrainka wypadła z drugiego piętra
Nie żyje Rafał Kołsut. Był gwiazdą "Ziarna"
Nie żyje Rafał Kołsut. Był gwiazdą "Ziarna"
Wyniki Lotto 04.12.2025 – losowania Lotto, Lotto Plus, Multi Multi, Ekstra Pensja, Ekstra Premia, Mini Lotto, Kaskada
Wyniki Lotto 04.12.2025 – losowania Lotto, Lotto Plus, Multi Multi, Ekstra Pensja, Ekstra Premia, Mini Lotto, Kaskada
Polskie piłkarki ręczne wygrały z Argentyną. Szczere słowa trenera
Polskie piłkarki ręczne wygrały z Argentyną. Szczere słowa trenera
Szukasz drzewka na święta? Prawnik mówi, na co zwrócić uwagę
Szukasz drzewka na święta? Prawnik mówi, na co zwrócić uwagę
Igrzyska 2026 - olimpijski ogień dotarł do Rzymu. Powrót po prawie 20 latach
Igrzyska 2026 - olimpijski ogień dotarł do Rzymu. Powrót po prawie 20 latach
Eksplozja powerbanka. Zostały tylko czarne ślady
Eksplozja powerbanka. Zostały tylko czarne ślady
Zawiózł rosyjskiego drona do domu. Myślał, że to zabawka
Zawiózł rosyjskiego drona do domu. Myślał, że to zabawka
Zmarł Leszek Gierszewski. Był jednym z najbogatszych Polaków
Zmarł Leszek Gierszewski. Był jednym z najbogatszych Polaków
Rosja zablokowała popularny komunikator. "Organizowanie działań terrorystycznych"
Rosja zablokowała popularny komunikator. "Organizowanie działań terrorystycznych"